Регулятор напряжения 220 вольт. Симисторный регулятор мощности. Варианты схем регулятора
В последнее время в нашем быту все чаще применяются электронные устройства для плавной регулировки сетевого напряжения. С помощью таких приборов управляют яркостью свечения ламп, температурой электронагревательных приборов, частотой вращения электродвигателей.
Подавляющее большинство регуляторов напряжения, собранных на тиристорах, обладают существенными недостатками, ограничивающими их возможности. Во-первых, они вносят достаточно заметные помехи в электрическую сеть, что нередко отрицательно сказывается на работе телевизоров, радиоприемников, магнитофонов. Во-вторых, их можно применять только для управления нагрузкой с активным сопротивлением — электролампой или нагревательным элементом, и нельзя использовать совместно с нагрузкой индуктивного характера — электродвигателем, трансформатором.
Между тем все эти проблемы легко решить, собрав электронное устройство, в котором роль регулирующего элемента выполнял бы не тиристор, а мощный транзистор.
Принципиальная схема
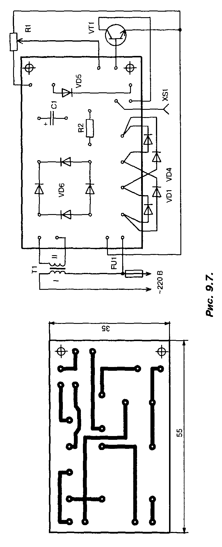
Транзисторный регулятор напряжения (рис. 9.6) содержит минимум радиоэлементов, не вносит помех в электрическую сеть и работает на нагрузку как с активным, так и индуктивным сопротивлением. Его можно использовать для регулировки яркости свечения люстры или настольной лампы, температуры нагрева паяльника или электроплитки, скорости вращения электродвигателя вентилятора или дрели, напряжения на обмотке трансформатора. Устройство имеет следующие параметры: диапазон регулировки напряжения — от 0 до 218 В; максимальная мощность нагрузки при использовании в регулирующей цепи одного транзистора — не более 100 Вт.
Регулирующий элемент прибора — транзистор VT1. Диодный мост VD1...VD4 выпрямляет сетевое напряжение так, что к коллектору VT1 всегда приложено положительное напряжение. Трансформатор Т1 понижает напряжение 220 В до 5...8 В, которое выпрямляется диодным блоком VD6 и сглаживается конденсатором С1.
Рис. Принципиальная схема мощного регулятора сетевого напряжения 220В.
Переменный резистор R1 служит для регулировки величины управляющего напряжения, а резистор R2 ограничивает ток базы транзистора. Диод VD5 защищает VT1 от попадания на его базу напряжения отрицательной полярности. Устройство подсоединяется к сети вилкой ХР1. Розетка XS1 служит для подключения нагрузки.
Регулятор действует следующим образом. После включения питания тумблером S1 сетевое напряжение поступает одновременно на диоды VD1, VD2 и первичную обмотку трансформатора Т1.
При этом выпрямитель, состоящий из диодного моста VD6, конденсатора С1 и переменного резистора R1, формирует управляющее напряжение, которое поступает на базу транзистора и открывает его. Если в момент включения регулятора в сети оказалось напряжение отрицательной полярности, ток нагрузки протекает по цепи VD2 — эмиттер-коллектор VT1, VD3. Если полярность сетевого напряжения положительная, ток протекает по цепи VD1 — коллектор-эмиттер VT1, VD4.
Значение тока нагрузки зависит от величины управляющего напряжения на базе VT1. Вращая движок R1 и изменяя значение управляющего напряжения, управляют величиной тока коллектора VT1. Этот ток, а следовательно, и ток, протекающий в нагрузке, будет тем больше, чем выше уровень управляющего напряжения, и наоборот.
При крайнем правом по схеме положении движка переменного резистора транзистор окажется полностью открыт и «доза» электроэнергии, потребляемая нагрузкой, будет соответствовать номинальной величине. Если движок R1 переместить в крайнее левое положение, VT1 окажется запертым и ток через нагрузку не потечет.
Управляя транзистором, мы фактически регулируем амплитуду переменного напряжения и тока, действующих в нагрузке. Транзистор при этом работает в непрерывном режиме, благодаря чему такой регулятор лишен недостатков, свойственных тирис-торным устройствам.
Конструкция и детали
Теперь перейдем к конструкции прибора. Диодные мостики, конденсатор, резистор R2 и диод VD6 устанавливаются на монтажной плате размером 55x35 мм, выполненной из фольгированного ге-тинакса или текстолита толщиной 1...2 мм (рис. 9.7).
В устройстве можно использовать следующие детали. Транзистор — КТ812А(Б), КТ824А(Б), КТ828А(Б), КТ834А(Б,В), КТ840А(Б), КТ847А или КТ856А. Диодные мосты: VD1...VD4 - КЦ410В или КЦ412В, VD6 — КЦ405 или КЦ407 с любым буквенным индексом; диод VD5 — серии Д7, Д226 или Д237.
Переменный резистор — типа СП, СПО, ППБ мощностью не менее 2 Вт, постоянный — ВС, MJIT, ОМЛТ, С2-23. Оксидный конденсатор - К50-6, К50-16. Сетевой трансформатор — ТВЗ-1-6 от ламповых телевизоров, ТС-25, ТС-27 — от телевизора «Юность» или любой другой маломощный с напряжением вторичной обмотки 5...8 В.
Предохранитель рассчитан на максимальный ток 1 А. Тумблер — ТЗ-С или любой другой сетевой. ХР1 — стандартная сетевая вилка, XS1 — розетка.
Все элементы регулятора размещаются в пластмассовом корпусе с габаритами 150x100x80 мм. На верхней панели корпуса устанавливаются тумблер и переменный резистор, снабженный декоративной ручкой. Розетка для подключения нагрузки и гнездо предохранителя крепятся на одной из боковых стенок корпуса.
С той же стороны сделано отверстие для сетевого шнура. На дне корпуса установлены транзистор, трансформатор и монтажная плата. Транзистор необходимо снабдить радиатором с площадью рассеяния не менее 200 см2 и толщиной 3...5 мм.

Рис. Печаная плата мощного регулятора сетевого напряжения 220В.
Регулятор не нуждается в налаживании. При правильном монтаже и исправных деталях он начинает работать сразу после включения в сеть.
Теперь несколько рекомендаций тем, кто захочет усовершенствовать устройство. Изменения в основном касаются увеличения выходной мощности регулятора. Так, например, при использовании транзистора КТ856 мощность, потребляемая нагрузкой от сети, может составлять 150 Вт, для КТ834 — 200 Вт, а для КТ847 — 250 Вт.
Если необходимо еще больше увеличить выходную мощность прибора, в качестве регулирующего элемента можно применить несколько параллельно включенных транзисторов, соединив их соответствующие выводы.
Вероятно, в этом случае регулятор придется снабдить небольшим вентилятором для более интенсивного воздушного охлаждения полупроводниковых приборов. Кроме того, диодный мост VD1...VD4 потребуется заменить на четыре более мощных диода, рассчитанных на рабочее напряжение не менее 600 В и величину тока в соответствии с потребляемой нагрузкой.
Для этой цели подойдут приборы серий Д231...Д234, Д242, Д243, Д245 ..Д248. Необходимо будет также заменить VD5 на более мощный диод, рассчитанный на ток до I А. Также больший ток должен выдерживать предохранитель.
Для управления некоторыми видами бытовых приборов (например, электроинструментом или пылесосом) применяют регулятор мощности на основе симистора. Подробно о принципе работы этого полупроводникового элемента можно узнать из материалов, размещенных на нашем сайте. В данной публикации мы рассмотрим ряд вопросов, связанных с симисторными схемами управления мощностью нагрузки. Как всегда, начнем с теории.
Принцип работы регулятора на симисторе
Напомним, что симистором принято называть модификацию тиристора, играющего роль полупроводникового ключа с нелинейной характеристикой. Его основное отличие от базового прибора заключается в двухсторонней проводимости при переходе в «открытый» режим работы, при подаче тока на управляющий электрод. Благодаря этому свойству симисторы не зависят от полярности напряжения, что позволяет их эффективно использовать в цепях с переменным напряжением.
Помимо приобретенной особенности, данные приборы обладают важным свойством базового элемента – возможностью сохранения проводимости при отключении управляющего электрода. При этом «закрытие» полупроводникового ключа происходит в момент отсутствия разности потенциалов между основными выводами прибора. То есть тогда, когда переменное напряжение переходит точку нуля.
Дополнительным бонусом от такого перехода в «закрытое» состояние является уменьшение числа помех на этой фазе работы. Обратим внимание, что не создающий помех регулятор может быть создан под управлением транзисторов.
Благодаря перечисленным выше свойствам, можно управлять мощностью нагрузки путем фазового управления. То есть, симистор открывается каждый полупериод и закрывается при переходе через ноль. Время задержки включения «открытого» режима как бы отрезает часть полупериода, в результате форма выходного сигнала будет пилообразной.
При этом амплитуда сигнала будет оставаться прежней, именно поэтому такие устройства неправильно называть регуляторами напряжения.
Варианты схем регулятора
Приведем несколько примеров схем, позволяющих управлять мощностью нагрузки при помощи симистора, начнем с самой простой.
Рисунок 2. Схема простого регулятора мощности на симисторе с питанием от 220 В
Обозначения:
- Резисторы: R1- 470 кОм, R2 – 10 кОм,
- Конденсатор С1 – 0,1 мкФ х 400 В.
- Диоды: D1 – 1N4007, D2 – любой индикаторный светодиод 2,10-2,40 V 20 мА.
- Динистор DN1 – DB3.
- Симистор DN2 – КУ208Г, можно установить более мощный аналог BTA16 600.
При помощи динистора DN1 происходит замыкание цепи D1-C1-DN1, что переводит DN2 в «открытое» положение, в котором он остается до точки нуля (завершение полупериода). Момент открытия определяется временем накопления на конденсаторе порогового заряда, необходимого для переключения DN1 и DN2. Управляет скоростью заряда С1 цепочка R1-R2, от суммарного сопротивления которой зависит момент «открытия» симистора. Соответственно, управление мощностью нагрузки происходит посредством переменного резистора R1.
Несмотря на простоту схемы, она довольно эффективна и может быть использована в качестве диммера для осветительных приборов с нитью накала или регулятора мощности паяльника.
К сожалению, приведенная схема не имеет обратной связи, следовательно, она не подходит в качестве стабилизированного регулятора оборотов коллекторного электродвигателя.
Схема регулятора с обратной связью
Обратная связь необходима для стабилизации оборотов электродвигателя, которые могут изменяться под воздействием нагрузки. Сделать это можно двумя способами:
- Установить таходатчик, измеряющий число оборотов. Такой вариант позволяет производить точную регулировку, но при этом увеличивается стоимость реализации решения.
- Отслеживать изменения напряжения на электромоторе и, в зависимости от этого, увеличивать или уменьшать «открытый» режим полупроводникового ключа.
Последний вариант значительно проще в реализации, но требует небольшой настройки под мощность используемой электромашины. Ниже приведена схема такого устройства.

Обозначения:
- Резисторы: R1 – 18 кОм (2 Вт); R2 – 330 кОм; R3 – 180 Ом; R4 и R5– 3,3 кОм; R6 – необходимо подбирать, как это делается будет описано ниже; R7 – 7,5 кОм; R8 – 220 кОм; R9 – 47 кОм; R10 – 100 кОм; R11 – 180 кОм; R12 – 100 кОм; R13 – 22 кОм.
- Конденсаторы: С1 – 22 мкФ х 50 В; С2 – 15 нФ; С3 – 4,7 мкФ х 50 В; С4 – 150 нФ; С5 – 100 нФ; С6 – 1 мкФ х 50 В..
- Диоды D1 – 1N4007; D2 – любой индикаторный светодиод на 20 мА.
- Симистор Т1 – BTA24-800.
- Микросхема – U2010B.
Данная схема обеспечивает плавный запуск электрической установки и обеспечивает ее защиту от перегрузки. Допускается три режима работы (выставляются переключателем S1):
- А – При перегрузке включается светодиод D2, сигнализирующий о перегрузке, после чего двигатель снижает обороты до минимальных. Для выхода из режима необходимо отключить и включить прибор.
- В – При перегрузке включается светодиод D2, мотор переводится на работу с минимальными оборотами. Для выхода из режима необходимо снять нагрузку с электродвигателя.
- С – Режим индикации перегрузки.
Настройка схемы сводится к подбору сопротивления R6, оно вычисляется, в зависимости от мощности, электромотора по следующей формуле: . Например, если нам необходимо управлять двигателем мощностью 1500 Вт, то расчет будет следующим: 0,25/ (1500 / 240) = 0,04 Ом.
Для изготовления данного сопротивления лучше всего использовать нихромовую проволоку диаметром 0,80 или1,0 мм. Ниже представлена таблица, позволяющая подобрать сопротивление R6 и R11, в зависимости от мощности двигателя.

Приведенное устройство может эксплуатироваться в качестве регулятора оборотов двигателей электроинструментов, пылесосов и другого бытового оборудования.
Регулятор для индуктивной нагрузки
Тех, кто попытается управлять индуктивной нагрузкой (например, трансформатором сварочного аппарата) при помощи выше указанных схем, ждет разочарование. Устройства не будут работать, при этом вполне возможен выход из строя симисторов. Это связано с фазовым сдвигом, из-за чего за время короткого импульса полупроводниковый ключ не успевает перейти в «открытый» режим.
Существует два варианта решения проблемы:
- Подача на управляющий электрод серии однотипных импульсов.
- Подавать на управляющий электрод постоянный сигнал, пока не будет проход через ноль.
Первый вариант наиболее оптимален. Приведем схему, где используется такое решение.

Как видно из следующего рисунка, где продемонстрированы осциллограммы основных сигналов регулятора мощности, для открытия симистора используется пакет импульсов.

Данное устройство делает возможным использование регуляторов на полупроводниковых ключах для управления индукционной нагрузкой.
Простой регулятор мощности на симисторе своими руками
В завершении статьи приведем пример простейшего регулятора мощности. В принципе, можно собрать любую из приведенных выше схем (наиболее упрощенный вариант был приведен на рисунке 2). Для этого прибора даже не обязательно делать печатную плату, устройство может быть собрано навесным монтажом. Пример такой реализации показан на рисунке ниже.

Использовать данный регулятор можно в качестве диммера, а также управлять с его помощью мощными электронагревательными устройствами. Рекомендуем подобрать схему, в которой для управления используется полупроводниковый ключ с соответствующими току нагрузки характеристиками.
Авто самоделки Самоделки для дачи Рыбаку, охотнику, туристу Стройка, ремонт Самоделки из ненужных вещей Радиолюбителю Коммуникации для дома Самодельная мебель Самодельный свет Домашний мастер Самоделки для бизнеса Самоделки к праздникам Самоделки для женщин Оригами Оригами Модели из бумаги Самоделки для детей Компьютерные самоделки Самоделки для животных Домашний лекарь Еда и рецепты Опыты и эксперименты Полезные советы
Данную конструкцию я использую для самодельной электроплитки на которой готовим кашу для собак, а недавно применил к паяльнику.
Для изготовления данного регулятора нам понадобится:
Пару резисторов на 1 кОм можно даже 0,25w, один переменный резистор на 1 мОм, два конденсатора 0,01 мкФ и
47 нФ, один динистор который я взял с эконом лампочки, полярности динистор не имеет так-что припаивать его можно как угодно, также нам понадобится симистор с небольшим радиатором, симистор я использовал серии ТС в металлическом корпусе на 10 ампер, но можно использовать КУ208Г, еще нам понадобятся винтовые клемники.
Да, кстати немного о переменном резисторе если поставить на 500 кОм то будет регулировать довольно плавно, но только с 220 до 120 вольт, а если на 1 мОм то регулировать будет жестко с промежутком 5-10 вольт, но зато диапазон увеличится с 220 до 60 вольт.
Итак начнем сборку нашего регулятора мощности, для этого нам нужно сначала сделать печатную плату.
![]()
После того как печатная плата готова начинаем набор радиокомпонентов на печатную плату. Первым делом припаиваем винтовые клемники.
![]()
![]()
И в самую последнюю очередь устанавливаем радиатор и симистор.
![]()
Вот и все наш регулятор напряжения готов, помоем плату спиртом и проверяем.
![]()
Более подробный обзор симисторного регулятора в видео ролике. Удачной сборки.
Мощный регулятор сетевого напряжения 220В
В последнее время в нашем быту все чаще применяются электронные устройства для плавной регулировки сетевого напряжения. С помощью таких приборов управляют яркостью свечения ламп, температурой электронагревательных приборов, частотой вращения электродвигателей.
Подавляющее большинство регуляторов напряжения, собранных на тиристорах, обладают существенными недостатками, ограничивающими их возможности. Во-первых, они вносят достаточно заметные помехи в электрическую сеть, что нередко отрицательно сказывается на работе телевизоров, радиоприемников, магнитофонов. Во-вторых, их можно применять только для управления нагрузкой с активным сопротивлением — электролампой или нагревательным элементом, и нельзя использовать совместно с нагрузкой индуктивного характера — электродвигателем, трансформатором.
Между тем все эти проблемы легко решить, собрав электронное устройство, в котором роль регулирующего элемента выполнял бы не тиристор, а мощный транзистор.
Принципиальная схема
Транзисторный регулятор напряжения (рис. 9.6) содержит минимум радиоэлементов, не вносит помех в электрическую сеть и работает на нагрузку как с активным, так и индуктивным сопротивлением. Его можно использовать для регулировки яркости свечения люстры или настольной лампы, температуры нагрева паяльника или электроплитки, скорости вращения электродвигателя вентилятора или дрели, напряжения на обмотке трансформатора. Устройство имеет следующие параметры: диапазон регулировки напряжения — от 0 до 218 В; максимальная мощность нагрузки при использовании в регулирующей цепи одного транзистора — не более 100 Вт.
Регулирующий элемент прибора — транзистор VT1. Диодный мост VD1. VD4 выпрямляет сетевое напряжение так, что к коллектору VT1 всегда приложено положительное напряжение. Трансформатор Т1 понижает напряжение 220 В до 5. 8 В, которое выпрямляется диодным блоком VD6 и сглаживается конденсатором С1.

Рис. Принципиальная схема мощного регулятора сетевого напряжения 220В.
Переменный резистор R1 служит для регулировки величины управляющего напряжения, а резистор R2 ограничивает ток базы транзистора. Диод VD5 защищает VT1 от попадания на его базу напряжения отрицательной полярности. Устройство подсоединяется к сети вилкой ХР1. Розетка XS1 служит для подключения нагрузки.
Регулятор действует следующим образом. После включения питания тумблером S1 сетевое напряжение поступает одновременно на диоды VD1, VD2 и первичную обмотку трансформатора Т1.
При этом выпрямитель, состоящий из диодного моста VD6, конденсатора С1 и переменного резистора R1, формирует управляющее напряжение, которое поступает на базу транзистора и открывает его. Если в момент включения регулятора в сети оказалось напряжение отрицательной полярности, ток нагрузки протекает по цепи VD2 — эмиттер-коллектор VT1, VD3. Если полярность сетевого напряжения положительная, ток протекает по цепи VD1 — коллектор-эмиттер VT1, VD4.
Значение тока нагрузки зависит от величины управляющего напряжения на базе VT1. Вращая движок R1 и изменяя значение управляющего напряжения, управляют величиной тока коллектора VT1. Этот ток, а следовательно, и ток, протекающий в нагрузке, будет тем больше, чем выше уровень управляющего напряжения, и наоборот.
При крайнем правом по схеме положении движка переменного резистора транзистор окажется полностью открыт и «доза9raquo; электроэнергии, потребляемая нагрузкой, будет соответствовать номинальной величине. Если движок R1 переместить в крайнее левое положение, VT1 окажется запертым и ток через нагрузку не потечет.
Управляя транзистором, мы фактически регулируем амплитуду переменного напряжения и тока, действующих в нагрузке. Транзистор при этом работает в непрерывном режиме, благодаря чему такой регулятор лишен недостатков, свойственных тирис-торным устройствам.
Конструкция и детали
Теперь перейдем к конструкции прибора. Диодные мостики, конденсатор, резистор R2 и диод VD6 устанавливаются на монтажной плате размером 55×35 мм, выполненной из фольгированного ге-тинакса или текстолита толщиной 1. 2 мм (рис. 9.7).
В устройстве можно использовать следующие детали. Транзистор — КТ812А(Б), КТ824А(Б), КТ828А(Б), КТ834А(Б,В), КТ840А(Б), КТ847А или КТ856А. Диодные мосты: VD1. VD4 — КЦ410В или КЦ412В, VD6 — КЦ405 или КЦ407 с любым буквенным индексом; диод VD5 — серии Д7, Д226 или Д237.
Переменный резистор — типа СП, СПО, ППБ мощностью не менее 2 Вт, постоянный — ВС, MJIT, ОМЛТ, С2-23. Оксидный конденсатор — К50-6, К50-16. Сетевой трансформатор — ТВЗ-1-6 от ламповых телевизоров, ТС-25, ТС-27 — от телевизора «Юность9raquo; или любой другой маломощный с напряжением вторичной обмотки 5. 8 В.
Предохранитель рассчитан на максимальный ток 1 А. Тумблер — ТЗ-С или любой другой сетевой. ХР1 — стандартная сетевая вилка, XS1 — розетка.
Все элементы регулятора размещаются в пластмассовом корпусе с габаритами 150x100x80 мм. На верхней панели корпуса устанавливаются тумблер и переменный резистор, снабженный декоративной ручкой. Розетка для подключения нагрузки и гнездо предохранителя крепятся на одной из боковых стенок корпуса.
С той же стороны сделано отверстие для сетевого шнура. На дне корпуса установлены транзистор, трансформатор и монтажная плата. Транзистор необходимо снабдить радиатором с площадью рассеяния не менее 200 см2 и толщиной 3. 5 мм.

Рис. Печаная плата мощного регулятора сетевого напряжения 220В.
Регулятор не нуждается в налаживании. При правильном монтаже и исправных деталях он начинает работать сразу после включения в сеть.
Теперь несколько рекомендаций тем, кто захочет усовершенствовать устройство. Изменения в основном касаются увеличения выходной мощности регулятора. Так, например, при использовании транзистора КТ856 мощность, потребляемая нагрузкой от сети, может составлять 150 Вт, для КТ834 — 200 Вт, а для КТ847 — 250 Вт.
Если необходимо еще больше увеличить выходную мощность прибора, в качестве регулирующего элемента можно применить несколько параллельно включенных транзисторов, соединив их соответствующие выводы.
Вероятно, в этом случае регулятор придется снабдить небольшим вентилятором для более интенсивного воздушного охлаждения полупроводниковых приборов. Кроме того, диодный мост VD1. VD4 потребуется заменить на четыре более мощных диода, рассчитанных на рабочее напряжение не менее 600 В и величину тока в соответствии с потребляемой нагрузкой.
Для этой цели подойдут приборы серий Д231. Д234, Д242, Д243, Д245. Д248. Необходимо будет также заменить VD5 на более мощный диод, рассчитанный на ток до I А. Также больший ток должен выдерживать предохранитель.
Регулятор мощности своими руками
Современная сеть электропитания устроена так, что в ней часто происходят скачки напряжения. Изменения тока допустимо, но оно не должно превышать 10% от принятых 220 вольт. Скачки плохо сказываются на работоспособности различных электроприборов, и очень часто они начинают выходить их строя. Чтобы этого не случилось, мы стали использовать стабильные регуляторы мощности для выравнивания поступающего тока. При наличии определенной фантазии и навыков можно сделать различные виды стабилизационных приборов, и самым эффективным остается стабилизатор симисторный.
На рынке такие приборы или стоят дорого, или зачастую они некачественные. Понятно, что мало кому захочется переплатить и получить неэффективный прибор. Вот в этом случае можно своими руками собрать его с нуля. Так возникла идея создания регулятора мощности на базе диммера. Диммер, слава Богу, у меня имелся, однако он был немного неработоспособным.
Починка симисторного регулятора – Dimmer-а

На данном изображении дана заводская электрическая схема диммера от фирмы Leviton, которая работает от сети с напряжением 120 Вольт. Если осмотр неработающих диммеров показал, что сгорел только симистор, то можно заняться процедурой его замены. Но здесь вас могут подстерегать неожиданности. Дело в том, что встречаются такие диммеры, в которых установлены какие-то странные симисторы с различными номерами. Вполне возможно, что не удастся найти информацию на них даже на даташите. Помимо этого, у таких симисторов, контактная площадка изолирована от электродов симистора (триака). Хотя, как видно, контактная площадка сделана из меди и даже не покрыта пластиком, как у корпусов транзисторов. Такие симисторы весьма удобны в ремонте.


Также обратите внимание на способ спайки симисторов к радиатору, он выполнен с помощью заклёпок, они пустотелые. При применении изолирующих прокладок, использовать такой способ крепления не рекомендуется. Да такое крепление не очень — то и надежное. В общем, ремонт такого симистра займет много времени и вы потратите нервы именно по причине установки данного типа триаков, диммер просто не рассчитан на такие размеры симистора (Triac-а) .

Заклепки пустотелые следует удалить при помощи сверла, который заточен под определенным углом. а конкретнее под углом 90°, можно также для этой работы использовать кусачки–бокорезки.
При неаккуратной работе есть вероятность повреждения радиатора. чтобы этого избежать, правильнее делать это только с той стороны. где расположен триак.

Радиаторы, выполненные из очень мягкого алюминия, при заклёпке немного могут быть деформированы. Поэтому, необходимо ошкурить контактные поверхности с помощью наждачной бумаги.
Если вы используете триак, который не имеет гальванической развязки, которая разделяет электроды и контактную площадку, то надо применить эффективный метод изоляции.


На изображении показано. как это делается. Чтобы случайно не продавить стенки радиатора, в том месте. где идет крепление симистора, необходимо сточить у винта большую часть шляпки, для того, чтобы избежать ее зацепку за поручень потенциометра или стабилизатора мощности, а затем под головку винта надо подложить шайбу.
Так должен выглядеть симистор, после изоляции от радиатора. Для наилучшего теплоотвода, необходимо приобрести специальную пасту термопроводящую КПТ-8.
На рисунке изображено то, что находиться под кожухом радиатора


Теперь все должно работать
Схема заводского регулятора мощности
На основе схемы заводского регулятора мощности можно собрать макет регулятора для напряжения вашей сети.
Здесь дана схема регулятора, который адаптирован к работе в сети со статичным напряжением в 220 Вольт. Эта схема отличается от оригинальной только несколькими деталями, а именно, при ремонте была в несколько раза увеличена мощность резистора R1, в 2 уменьшены номиналы R4 и R5, а динистор 60-ти. в вольтовый заменили на два. которые включёны последовательно, 30-ти Вольтовыми динисторами VD1, VD2. Как видно, своими руками можно не только отремонтировать неисправные диммера, но и легко подстроить под свои потребности.

Это исправный макет регулятора мощности. Теперь вы точно знаете, какая схема у вас получится при правильном ремонте. Данная схема не требует подбора дополнительных деталей и сразу готова к работе. Возможно, надо будет отрегулировать положения движка подстрочного резистора R4. Для этих целей движки потенциометров R4 и R5 устанавливаются в крайнее верхнее положение, а потом меняют положение движка R4, после чего лампа загорится с самой малой яркостью, а потом следует слегка подвинуть движок в противоположном направлении. На этом процесс настройки закончен! Но стоит отметить, что данный регулятор мощности работают только с нагревательными приборами и лампами накаливания, а с двигателями или мощными аппаратами результаты могут быть не непредсказуемы. Для начинающих мастеров- любителей с малым опытом такие работы самое то.
РЕГУЛЯТОР ПЕРЕМЕННОГО НАПРЯЖЕНИЯ
Всем привет! В прошлой статье я расказывал, как сделать регулятор напряжения для постоянного тока. Сегодня мы сделаем регулятор напряжения для переменного тока 220в. Конструкция довольно-таки проста для повторения даже начинающими. Но при этом регулятор может брать на себя нагрузку даже в 1 киловатт! Для изготовления данного регулятора нам понадобится несколько компонентов:
1. Резистор 4.7кОм млт-0.5 (пойдет даже 0.25 ватт).
2. Перменный резистор 500кОм-1мОм, с 500ком будет регулировать довольно плавно, но только в диапазоне 220в-120в. С 1 мОм — будет регулировать более жестко, тоесть будет регулировать промежутком в 5-10вольт, но зато диапазон возрастет, возможно регулировать от 220 до 60 вольт! Резистор желательно ставить со встроеным выключателем (хотя можно обойтись и без него, просто поставив перемычку).
3. Динистор DB3. Взять такой можно из ЛСД экономичных ламп. (Можно заменить на отечественный KH102).
4. Диод FR104 или 1N4007, такие диоды встречаются практически в любой импортной радиотехнике.
5. Экономичные по току светодиоды.
6. Симистор BT136-600B или BT138-600.
7. Винтовые клемники. (обйтись можно и без них, просто припаяв провода к плате).
8. Небольшой радиатор (до 0,5кВт он не нужен).
9. Пленочный конденсатор на 400вольт, от 0.1 микрофарадп, до 0.47 микрофарад.
Схема регулятора переменного напряжения:
Приступим к сборке устройства. Для начало вытравим и пролудим плату. Печатная плата — её рисунок в LAY, находится в архиве. Более компактный вариант, представленный товарищем sergei — тут.


Затем паяем конденастор. На фото конднесатор со стороны лужения, т.к у моего экземпляра конденсатора были слишком коротки ножки.

Паяем динистор. У динистора полярности нет, так-что вставляем его как вам угодно. Припаиваем диод, резистор, светодиод, перемычку и винтовой клемник. Выглядит оно примерно так:

И в конце концов последний этап — это ставим на симистор радиатор.

А вот фото готового устройства уже в корпусе.

Регулятор какой-нибуть дополнительно настройки не требует. Видео работы данного устройства:
Хочу заметить, что ставить его можно не только в сеть 220В на обычные приборы и электроинструменты. но и на любой другой источник переменного тока с напряжением от 20 до 500В (ограничивается предельными параметрами радиоэлементов схемы). С вами был Boil-:D
Принцип работы симисторных регуляторов мощности
Полупроводниковый прибор, имеющий 5 p-n переходов и способный пропускать ток в прямом и обратном направлениях, называется симистором. Из-за неспособности работы на высоких частотах переменного тока, высокой чувствительности к электромагнитным помехам и значительного тепловыделения при коммутации больших нагрузок, в настоящее время широкого применения в мощных промышленных установках они не имеют.
Там их с успехом заменяют схемы на тиристорах и IGBT-транзисторах. Но компактные размеры прибора и его долговечность в сочетании с невысокой стоимостью и простотой схемы управления позволили найти им применение в сферах, где указанные выше недостатки не имеют существенного значения.
Сегодня схемы на симисторах можно найти во многих бытовых приборах от фена до пылесоса, ручном электроинструменте и электронагревательных устройствах – там, где требуется плавная регулировка мощности.

Принцип работы
Регулятор мощности на симисторе работает подобно электронному ключу, периодически открываясь и закрываясь, с частотой, заданной схемой управления. При отпирании симистор пропускает часть полуволны сетевого напряжения, а значит потребитель получает только часть номинальной мощности.
Делаем своими руками
На сегодняшний день ассортимент симисторных регуляторов в продаже не слишком велик. И, хотя цены на такие устройства невелики, зачастую они не отвечают требованиям потребителя. По этой причине рассмотрим несколько основных схем регуляторов, их назначение и используемую элементную базу.
Схема прибора
Простейший вариант схемы, рассчитанный для работы на любую нагрузку. Используются традиционные электронные компоненты, принцип управления фазово-импульсный.
- симистор VD4, 10 А, 400 В;
- динистор VD3, порог открывания 32 В;
- потенциометр R2.
Ток, протекающий через потенциометр R2 и сопротивление R3, каждой полуволной заряжает конденсатор С1. Когда на обкладках конденсатора напряжение достигнет 32 В, произойдёт открытие динистора VD3 и С1 начнёт разряжаться через R4 и VD3 на управляющий вывод симистора VD4, который откроется для прохождения тока на нагрузку.
Длительность открытия регулируется подбором порогового напряжения VD3 (величина постоянная) и сопротивлением R2. Мощность в нагрузке прямо пропорциональна величине сопротивления потенциометра R2.
Дополнительная цепь из диодов VD1 и VD2 и сопротивления R1 является необязательной и служит для обеспечения плавности и точности регулировки выходной мощности. Ограничение тока, протекающего через VD3, выполняет резистор R4. Этим достигается необходимая для открытия VD4 длительность импульса. Предохранитель Пр.1 защищает схему от токов короткого замыкания.
Отличительной особенностью схемы является то, что динистор открывается на одинаковый угол в каждой полуволне сетевого напряжения. Вследствие этого не происходит выпрямление тока, и становится возможным подключение индуктивной нагрузки, например, трансформатора.
Подбирать симисторы следует по величине нагрузке, исходя из расчёта 1 А = 200 Вт.
- Динистор DB3;
- Симистор ТС106-10-4, ВТ136-600 или другие, требуемого номинала по току 4-12А.
- Диоды VD1, VD2 типа 1N4007;
- Сопротивления R1100 кОм, R3 1 кОм, R4 270 Ом, R5 1,6 кОм, потенциометр R2 100 кОм;
- Конденсатор С1 0,47 мкФ (рабочее напряжение от 250 В).
Отметим, что схема является наиболее распространённой, с небольшими вариациями. Например, динистор может быть заменён на диодный мост или может быть установлена помехоподавляющая RC цепочка параллельно симистору.
Более современной является схема с управлением симистора от микроконтроллера – PIC, AVR или другие. Такая схема обеспечивает более точную регулировку напряжения и тока в цепи нагрузки, но является и более сложной в реализации.

Схема симисторного регулятора мощности
Сборку регулятора мощности необходимо производить в следующей последовательности:
- Определить параметры прибора, на который будет работать разрабатываемое устройство. К параметрам относятся: количество фаз (1 или 3), необходимость точной регулировки выходной мощности, входное напряжение в вольтах и номинальный ток в амперах.
- Выбрать тип устройства (аналоговый или цифровой), произвести подбор элементов по мощности нагрузки. Можно проверить своё решение в одной из программ для моделирования электрических цепей – Electronics Workbench, CircuitMaker или их онлайн аналогах EasyEDA, CircuitSims или любой другой на ваш выбор.
- Рассчитать тепловыделение по следующей формуле: падение напряжения на симисторе (около 2 В) умножить на номинальный ток в амперах. Точные значения падения напряжения в открытом состоянии и номинальный пропускаемый ток указаны в характеристиках симистора. Получаем рассеиваемую мощность в ваттах. Подобрать по рассчитанной мощности радиатор.
- Закупить необходимые электронные компоненты . радиатор и печатную плату.
- Произвести разводку контактных дорожек на плате и подготовить площадки для установки элементов. Предусмотреть крепление на плате для симистора и радиатора.
- Установить элементы на плату при помощи пайки. Если нет возможности подготовить печатную плату, то можно использовать для соединения компонентов навесной монтаж, используя короткие провода. При сборке особое внимание уделить полярности подключения диодов и симистора. Если на них нет маркировки выводов, то прозвонить их при помощи цифрового мультиметра или «аркашки».
- Проверить собранную схему мультиметром в режиме сопротивления. Полученное изделие должно соответствовать изначальному проекту.
- Надёжно закрепить симистор на радиатор. Между симистором и радиатором не забыть проложить изолирующую теплопередающую прокладку. Скрепляющий винт надёжно заизолировать.
- Поместить собранную схему в пластиковый корпус.
- Вспомнить о том, что на выводах элементов присутствует опасное напряжение.
- Выкрутить потенциометр на минимум и произвести пробное включение. Измерить напряжение мультиметром на выходе регулятора. Плавно поворачивая ручку потенциометра следить за изменением напряжения на выходе.
- Если результат устраивает, то можно подключать нагрузку к выходу регулятора. В противном случае необходимо произвести регулировки мощности.

Симисторный радиатор мощности
Регулировка мощности
За регулировку мощности отвечает потенциометр, через который заряжается конденсатор и разрядная цепь конденсатора. При неудовлетворительных параметрах выходной мощности следует подбирать номинал сопротивления в разрядной цепи и, при малом диапазоне регулировки мощности, номинал потенциометра.
- продлить срок службы лампы, регулировать освещение или температуру паяльника поможет простой и недорогой регулятор на симисторах.
- выбирайте тип схемы и параметры компонентов по планируемой нагрузке.
- тщательно проработайте схемные решения.
- будьте внимательны при сборке схемы . соблюдайте полярность полупроводниковых компонентов.
- не забывайте, что электрический ток есть во всех элементах схемы и он смертельно опасен для человека.

Проверка конденсатора мультиметром

Как выбрать светодиодные лампы для дома

Выбор фотореле для уличного освещения
НЕСКОЛЬКО ПРИНЦИПИАЛЬНЫХ СХЕМ РЕГУЛЯТОРОВ МОЩНОСТИ
РЕГУЛЯТОР МОЩНОСТИ НА СИМИСТОРЕ
Особенностями предлагаемого устройства являются использование D - триггера для построения
генератора, синхронизированного с сетевым напряжением, и способ управления симистором с помощью одиночного
импульса, длительность которого регулируется а втоматически. В отличие от других способов импульсного
управления симистором, указанный способ некритичен к наличию в нагрузке индуктивной сос тавляющей. Импульсы
генератора следуют с периодом приблизительно 1,3 с.
Питание микросхемы DD 1 производится током, протекающим через защитный диод, находящийся
внутри микросхемы между ее выводами 3 и 14. Он течет, когда напряжение на этом выводе, соединенном с
сетью через резистор R 4 и диод VD 5, превышает на пряжение стабилизации стабилитрона VD 4.
К. ГАВРИЛОВ, Радио, 2011, №2, с. 41
ДВУХКАНАЛЬНЫЙ РЕГУЛЯТОР МОЩНОСТИ НАГРЕВАТЕЛЬНЫХ ПРИБОРОВ
Регулятор содержит два независимых канала и позволяет поддерживать требуемую температуру для различных нагру зок: температуры жала паяльника, электроутюга, электрообогревателя, электроплиты и др. Глубина регулирования составляет 5...95% мощности питающей сети. Схема регулятора питается выпрямленным напряжением 9...11 В с трансформаторной развязкой от сети 220 В с малым током потребления.

В.Г. Никитенко, О.В. Никитенко, Радiоаматор, 2011, №4, с. 35
СИМИСТОРНЫЙ РЕГУЛЯТОР МОЩНОСТИ
Особенностью этого симисторного регулятора является то, что число подаваемых на нагрузку полупериодов
сетевого на пряжения при любом положении органа управления оказывается четным. В результате, не образуется постоянная составляющая потребляемого тока и, следовательно, отсутствует подмагничивание магнитопроводов
подклю ченных к регулятору трансформа торов и электродвигателей. Мощность р егулируется изменением числа
периодов переменного на пряжения, приложенного к нагруз ке за определенный интервал времени. Регулятор
предназначен для ре гулирования мощности приборов, обладающих значительной инерци ей (нагревателей и
т. п.).
Для регу лирован ия яркости освещения он не пригоден, т. к. лампы будут сильно мигать.

В. КАЛАШНИК, Н. ЧЕРЕМИСИНОВА, В. ЧЕРНИКОВ, Радиомир, 2011, № 5 , с. 17 - 18
БЕСПОМЕХОВЫЙ РЕГУЛЯТОР НАПРЯЖЕНИЯ
Большинство регуляторов напряжения (мощности) выполнено на тиристорах по схеме с фазоимпульсным управлением. Как известно, подобные устройства создают заметный уровень радиопомех. Предлагаемый
регулятор свободен от этого недостатка. Особенность предлагаемого регулятора - управление амплитудой переменного
напряжения, при котором не искажается форма выходного сигнала, в отличие от фазоимпульсного управления.
Регулирующий элемент - мощный транзистор VT1 в диагонали диодного моста VD1-VD4, включенного
последовательно с нагрузкой. Основной недостаток устройства - его низкий КПД. Когда транзистор закрыт,
ток через выпрямитель и нагрузку не проходит. Если на базу транзистора подать напряжение управления, он
открывается, через его участок коллектор-эмиттер, диодный мост и нагрузку начинает проходить ток. Напряжение
на выходе регулятора (на нагрузке) увеличивается. Когда транзистор открыт и находится в режиме насыщения,
к нагрузке приложено практически все сетевое (входное) напряжение. Управляющий сигнал формирует маломощный
блок питания, собранный на трансформаторе Т1, выпрямителе VD5 и сглаживающем конденсаторе С1.
Переменным резистором R1 регулируют ток базы транзистора, а следовательно, и амплитуду выходного
напряжения. При перемещении движка переменного резистора в верхнее по схеме положение напряжение на выходе
уменьшается, в нижнее - увеличивается. Резистор R2 ограничивает максимальное значение тока управления.
Диод VD6 защищает узел управления при пробое коллекторного перехода транзистора. Регулятор напряжения
смонтирован на плате из фольгиро- ванного стеклотекстолита толщиной 2,5 мм. Транзистор VT1 следует установить
на теплоотвод площадью не менее 200 см2. При необходимости диоды VD1-VD4 заменяют более мощными, например
Д245А, и также размещают на теплоотводе.

Если устройство собрано без ошибок, оно начинает работать сразу и практически не требует
налаживания. Необходимо лишь подобрать резистор R2.
С регулирующим транзистором КТ840Б мощность нагрузки не должна превышать
60 Вт
. Его можно заменить приборами: КТ812Б, КТ824А, КТ824Б, КТ828А, КТ828Б с допустимой рассеиваемой
мощностью 50 Вт.; КТ856А -75 Вт.; КТ834А, КТ834Б - 100 Вт.; КТ847А-125 Вт. Мощность нагрузки допустимо
увеличить, если регулирующие транзисторы одного типа включить параллельно: коллекторы и эмиттеры соединить
между собой, а базы через отдельные диоды и резисторы подключить к движку переменного резистора.
В устройстве применим малогабаритный трансформатор с напряжением на вторичной обмотке 5...8
В. Выпрямительный блок КЦ405Е можно заменить любым другим или собрать из отдельных диодов с допустимым
прямым током не менее необходимого тока базы регулирующего транзистора. Эти же требования относятся и
к диоду VD6. Конденсатор С1 - оксидный, например, К50-6, К50-16 и т. д., на номинальное напряжение не
менее 15 В. Переменный резистор R1 - любой с номинальной мощностью рассеяния 2 Вт. При монтаже и налаживании
устройства следует соблюдать меры предосторожности: элементы регулятора находятся под напряжением сети.
Примечание: Для уменьшения искажения синусоидальной формы выходного напряжения попробуйте исключить конденсатор
С1. А. Чекаров
Регулятор напряжения на MOSFET - транзисторах (IRF540, IRF840)
Олег Белоусов, Электрик, 201 2 , № 12 , с. 64 - 66
Так как физический принцип работы полевого транзистора с изолированным затвором отличается от работы тиристора и симмистора, то его в течение периода сетевого напряжения можно многократно включать и выключать. Частота коммутации мощных транзисторов в данной схеме выбрана 1 к Гц. Достоинством этой схемы является простота и возможность изменять скважность импульсов, мало изменяя при этом частоту повторения импульсов.

В авторской конструкции получены следующие
длительности импульсов: 0,08 мс, при периоде следования
1 мс и 0,8 мс при периоде следования 0,9 мс, в зависимости
от положения движка резистора R2.
Отключить напряжение на нагрузке можно, замкнув выключатель S 1, при этом на затворах MOSFET - транзисторов
устанавливается напряжение, близкое к напряжению на 7 выводе
микросхем ы. При разомкнутом тумблере напряжение на нагрузке
в авторском экземпляре устройства можно было изменять рези
стором R 2 в пределах 18...214 В (измерено прибором типа
TES 2712).
Принципиальная схема подобного регулятора
показан на рисунке ниже. В регуляторе использется отечественная
микросхема К561ЛН2 на двух элементах которой собран генератор
с регулируемой суважностью, а четыре эелемента используюся
как усилители тока.

Для исключения помех по сети 220 послеловательно нагрузке рекомендуется подключить дроссель намотанный на ферритовом кольце диаметром 20...30 мм до заполнения проводом 1 мм.
Генератор тока нагрузки на биполярных транзисторах (КТ817 , 2SC3987)
Бутов А. Л. , Радиоконструктор, 201 2 , № 7 , с. 11 - 12
Для проверки работоспособности и настройки
источников питания удобно использовать имитатор нагрузки в
виде регулируемого генератора тока. С помощью такого устройства
можно не только быстро настроить блок питания, стабилизатор
напряжения, но и, например, использовать его как генератор
стабильного тока для зарядки, разрядки аккумуля торных батарей, устройств электролиза, для электрохимического травления
печатных плат, как стабилизатор тока питания электроламп, для «мягкого» пуска коллекторных электродвигателей.
Устройство является двухполюсником,
не требует дополнитель ного источника питания и может включаться
в разрыв цепи питания различных устройств и исполнительных
механизмов.
Диапазон регулировки тока от 0...0 ,
16 до 3 А, максимальная потребляемая (рассеиваемая) мощность
40 Вт, диапазон питающих напряжений 3...30 В постоянного
тока. Ток потребления регулируется переменным резистором
R 6. Чем левее по схеме движок резистора R6, тем больший ток
потребляет устрой ство. При разомкнутых контактах переключателя
SA 1 резистором R6 можно установить ток потребления от 0,16
до 0,8 А. При замкнутых контактах этого переключателя ток
регулируется в интервале 0,7... 3 А.


Чертеж печатной платы генератора тока
Имитатор автомобильного аккумулятора (КТ827)
В. МЕЛЬНИЧУК, Радиомир, 201 2 , № 1 2 , с. 7 - 8
При переделке компьютерных импульсных
блоков питания (ИБП) подзарядные устройства (ЗУ) для автомобильных
аккумуляторов готовые изделия в процессе наладки необходимо
чем - то нагружать. Поэтому я решил изготовить аналог мощного
стабилитрона с регулируемым напряжением стабилизации, схем
а которого показана на рис. 1 . Резистором R 6 можно регулировать
напряжение стабилизации от 6 до 16 В. Всего было сделано
два таких устройства. В первом варианте в качестве транзис
торов VT 1 и VT 2 применены КТ 803.
Внутреннее сопротивление такого стабилитрона
оказалось слишком велико. Так, при токе 2 А напряжение стабилизации
составило 12 В, а при 8 А - 16 В. Во втором варианте использованы
составные транзисторы КТ827. Здесь при токе 2 А напряжение
стабилизации составило 12 В, а при 10 А - 12,4 В.

Однако при регулировке более мощных потребителей, например электрокотлов симисторные регуляторы мощности становятся не пригодными - уж слишком большую помеху по сети они будут создавать. Для решения этой проблемы лучше использовать регуляторы с бОльшим периодом режимов ВКЛ-ВЫКЛ, что однозначно исключает возникновение помех. Один из вариантов схемы приведен .
Такой простой, но в то же время очень эффективный регулятор, сможет собрать практически каждый, кто может держать в руках паяльник и хоть слегка читает схемы. Ну а этот сайт поможет вам осуществить своё желание. Представленный регулятор регулирует мощность очень плавно без бросков и провалов.
Схема простого симисторного регулятора
Такой регулятор можно применить в регулировании освещения лампами накаливания, но и светодиодными тоже, если купить диммируемые. Температуру паяльника регулировать - легко. Можно бесступенчато регулировать обогрев, менять скорость вращения электродвигателей с фазным ротором и ещё много где найдётся место такой полезной вещице. Если у вас есть старая электродрель, у которой не регулируются обороты, то применив этот регулятор, вы усовершенствуете такую полезную вещь.В статье, с помощью фотографий, описания и прилагаемого видео, очень подробно описан весь процесс изготовления, от сбора деталей до испытания готового изделия.

Сразу говорю, что если вы не дружите с соседями, то цепочку C3 - R4 можете не собирать. (Шутка) Она служит для защиты от радиопомех.
Все детали можно купить в Китае на Алиэкспресс. Цены от двух до десяти раз меньше, чем в наших магазинах.
Для изготовления этого устройства понадобится:
- R1 – резистор примерно 20 Ком, мощностью 0,25вт;
- R2 – потенциометр примерно 500 Ком, можно от 300 Ком до 1 Мом, но лучше 470 Ком;
- R3 - резистор примерно 3 Ком, 0, 25 Вт;
- R4- резистор 200-300 Ом, 0, 5 Вт;
- C1 и C2 – конденсаторы 0, 05 МкФ, 400 В;
- C3 – 0, 1 МкФ, 400 В;
- DB3 – динистор, есть в каждой энергосберегающей лампе;
- BT139-600, регулирует ток 18 А или BT138-800, регулирует ток 12 А – симисторы, но можно взять и любые другие, в зависимости от того, какую нагрузку нужно регулировать. Динистор ещё называют диак, симистор – триак.
- Радиатор охлаждения выбирается от величины планируемой мощности регулирования, но чем больше, тем лучше. Без радиатора можно регулировать не более 300 ватт.
- Клеммные колодки можно поставить любые;
- Макетную плату применять по вашему желанию, лишь бы всё вошло.
- Ну и без прибора, как без рук. А вот припой применять лучше наш. Он хоть и дороже, но намного лучше. Хорошего припоя Китайского не видел.


Приступаем к сборке регулятора
Сначала нужно продумать расстановку деталей так, чтобы ставить как можно меньше перемычек и меньше паять, затем очень внимательно проверяем соответствие со схемой, а потом все соединения запаиваем.






Убедившись, что ошибок нет и поместив изделие в пластиковый корпус, можно опробовать, подключив к сети.
